您当前的位置:成果库 > 一种横向导电结构 SiC MOSFET 功率器件
基本信息
- 成果类型 高等院校
- 委托机构 西安电子科技大学
- 成果持有方 西安电子科技大学
- 行业领域 微电子
- 项目名称 一种横向导电结构 SiC MOSFET 功率器件
- 知识产权 发明专利
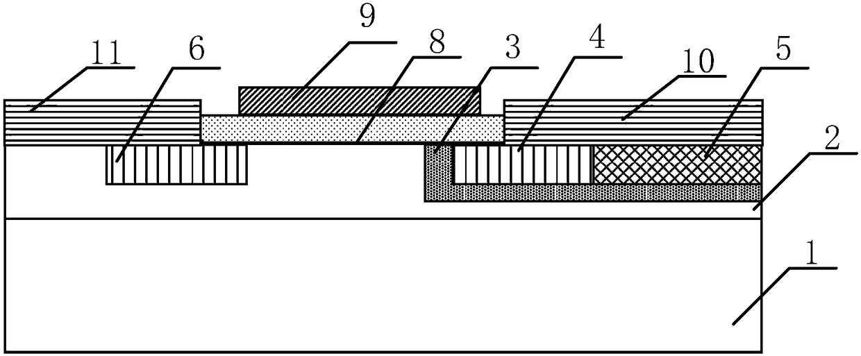
- 项目简介 本发明实施例涉及一种横向导电结构SiC MOSFET功率器件,所述SiC MOSFET功率器件自上而下包括:栅极、SiO2隔离介质层、N+漏区、N+源区、P+欧姆接触区、P阱、N‑漂移区和P型SiC衬底;其中,N+漏区、N+源区和P+欧姆接触区水平设置,N+源区和P+欧姆接触区位于P阱内;在SiO2隔离介质层与N‑漂移区之间的界面具有一层等离子体增强化学气相淀积PECVDSiO2界面层。
-
交易信息
- 意向交易额 面议
- 挂牌时间 2018/04/17
- 委托机构 西安电子科技大学
- 联系人姓名 王小刚
- 联系人电话 15802954800
- 联系人邮箱 745490733@qq.com
- 分享至:


10545
2018/08/06
咨询成果
发布成果