您当前的位置:成果库 > 一种基于阵列光束的赝热光源
基本信息
- 成果类型 高等院校
- 委托机构 西安电子科技大学
- 成果持有方 西安电子科技大学
- 行业领域 先进制造技术
- 项目名称 一种基于阵列光束的赝热光源
- 知识产权 发明专利
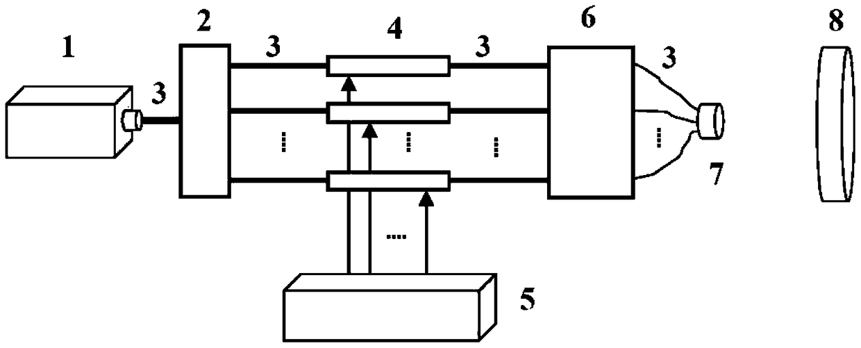
- 项目简介 一种基于阵列光束的赝热光源,包括脉冲激光器、光纤耦合器、电光相位调制器、射频驱动电源、光纤放大器、光纤束阵列及扩束准直器,其中,所述脉冲激光器、光纤耦合器、电光相位调制器、光纤放大器及光纤束阵列通过单模光纤依次相连,所述电光相位调制器由所述射频驱动电源驱动;脉冲激光器发出的激光被所述光纤耦合器分成多束相干光后,传输至所述电光相位调制器进行随机相位调制,然后传输至所述光纤放大器进行功率放大后,经所述光纤束阵列及所述扩束准直器后输出。本发明的赝热光源可以解决现有赝热光源存在的输出功率不高、强度起伏速率低的问题,实现高亮度、快速时变的效果。
-
交易信息
- 意向交易额 面议
- 挂牌时间 2018/04/17
- 委托机构 西安电子科技大学
- 联系人姓名 王小刚
- 联系人电话 15802954800
- 联系人邮箱 745490733@qq.com
- 分享至:


10215
2018/08/06
咨询成果
发布成果